{{ v.name }}
{{ v.cls }}类
{{ v.price }} ¥{{ v.price }}

海底捞开启了疯狂的商标注册模式,一口气注册了“池底捞”、“渠底捞”、“海底捡”、“三每底手劳”等上千个与“海底捞”三个字相关的商标,以后其他餐饮公司想碰瓷它或许就难了。此消息登上微博热搜,海底捞此举被网友评价为“学聪明了”,因为不久前它吃过商标被山寨的亏。
“海底捞”曾吃过“河底捞”的亏
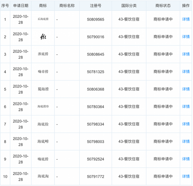
近日海底捞新增近1000条商标信息,包括“池底捞”“渠底捞”“清底捞”“上海底捞”“海底捡”“三每底手劳”“还想捞”等,商标分类为餐厅住宿,状态为申请中。
由于这些名字比较有趣,网友乐了,纷纷脑洞大开,帮海底捞出主意,生怕漏了什么。“还有’湖底捞’,不谢!”“太平洋捞、印度洋捞、大西洋捞、北冰洋捞……世界捞、银河捞、宇宙捞……想怎么捞就怎么捞!”

企查查显示海底捞申请了1000个注册商标
事实上,今年8月,“海底捞”状告“河底捞”商标侵权一事也曾登上热搜。长沙市天心区人民法院于2019年8月1日立案后,依法适用简易程序,公开开庭进行了审理。8月12日,长沙市天心区人民法院一审驳回了原告海底捞的诉讼请求,认为河底捞并未侵犯海底捞的商标权。
北京盈科(长沙)律师事务所胡广律师表示,海底捞为了保护“海底捞”这个品牌,注册“池底捞”“水底捞”等上千个联合商标作为商标战略的防御手段,是一种正常的商业行为。不过也跟前段时间海底捞起诉河底捞败诉有一定关系。

海底捞官网
头部企业热衷注册防御性商标
关于商标的趣事还有很多。例如“老干妈”和“老干爹”,曾因商标打得不可开交;“雪碧”注册“雷碧”商标;“六个核桃”注册“八个核桃”。
2020年8月,阿里巴巴注册了一家新公司名叫”京西”,一度引发市场热议,市场认为“京西”这个名字听起来有点像碰瓷“京东”,主营业务也雷同。大量“吃瓜群众”在阿里系微博下发表评论,纷纷给京东支招,打趣称赶紧注册一个阿里阿西吧有限公司、阿里阿巴阿巴或阿外巴巴公司。
扬子晚报记者发现,对于商标保护阿里巴巴特别重视,早在2007年就注册了从“阿里爷爷”、“阿里奶奶”到“兄弟姐妹”、各位亲戚等一系列”阿里”家族的商标。
对此,一位律师表示,商标注册的目的在于使用,而防御性商标注册后,很多都会被“束之高阁”,难免会造成商标的囤积、资源的浪费。但是目前各地都有些许政策支持知名企业建立以主商标为核心、防御商标和联合商标为保护的商标防御系统。